Our Complete Product Catalogue
We manufacture a comprehensive range of precision collets and CNC machine components:
✓ Collets (All Types)
✓ Collet Chucks for CNC
✓ Collet Sleeves
✓ CNC Collet Fixtures
✓ Drilling Machine Holders
✓ Special CNC Collets
✓ Multi-Spindle Collets
PRODUCT CATEGORIES
Hover over each category to see available product types
COLLETS
- Standard Collets
- Multi-Spindle Collets
- Sliding Head CNC Collets
CNC COLLET FIXTURES & CHUCKS
- CNC M/c Collet Fixtures
- Collet Chucks for CNC
- Spindle Sizes: A2/4, A2/5, A2/6, A2/8
DRILLING MACHINE COLLET HOLDERS
- Drilling M/c Collet Holder
- Multi-Application Holders
- Custom Drilling Holders
COLLET SLEEVES
- Standard Sleeves
- CNC Sleeves
- Single Sleeves
CNC REVOLVING CENTRES
- CNC Revolving Centres
- Custom Revolving Centres
- Precision Revolving Units
MULTI-SPINDLE COMPONENTS
- Multi Spindle M/c Collets
- Multi Spindle Feed Fingers
- Sliding Head Machine Parts
Technical Specifications & Standards
Single Spindle Automat
Collets
As per IS 6238 & DIN 6343
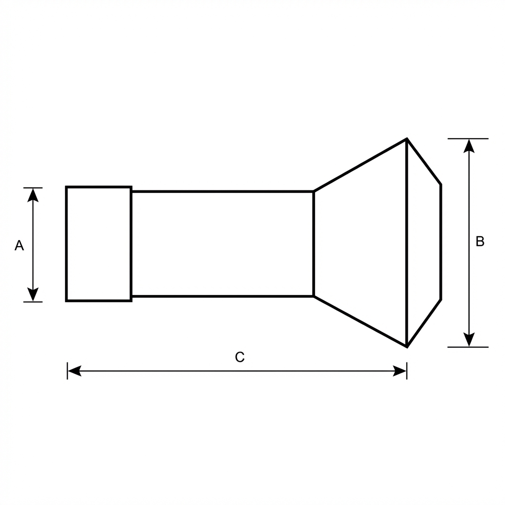
Technical Drawing: Dimension Keys
A: Shank Dia
B: Head Dia
C: Total Length
| DIN STANDARD | A | B | C | MAX | ||
|---|---|---|---|---|---|---|
| rnd | hex | sqr | ||||
| DIN-22-6343 | 22 | 30 | 55 | 16 | 13 | 11 |
| DIN-28-6343 | 28 | 38 | 70 | 22 | 19 | 15 |
| DIN-32-6343 | 32 | 45 | 75 | 26 | 22 | 18 |
| DIN-35-6343 | 35 | 48 | 80 | 30 | 26 | 21 |
| DIN-48-6343 | 48 | 60 | 94 | 42 | 36 | 29 |
| DIN-66-6343 | 66 | 84 | 110 | 60 | 52 | 42 |
The above mentioned collets are used in machines like Traub, PMT, Deem, SGS, Abijeet, Arrow etc.
HMT Standard (Single Spindle)
Dimension Reference:
A = Shank Diameter | B = Front/Nose Diameter | C =
Overall Length
| HMT STANDARD | A | B | C | MAX | ||
|---|---|---|---|---|---|---|
| rnd | hex | sqr | ||||
| HMT TR-16B | 22 | 30 | 55 | 16 | 13 | 11 |
| HMT TR-22B | 28 | 38 | 70 | 22 | 19 | 15 |
| HMT TR-25B | 32 | 45 | 75 | 26 | 22 | 18 |
| HMT TR-32B | 38 | 49 | 107.5 | 32 | 28 | 22 |
| HMT TR-42B | 48 | 60 | 94 | 42 | 36 | 29 |
| HMT TR-60B | 68 | 84 | 109 | 60 | 52 | 42 |
The above mentioned collets are used in HMT, Manurhin machines.
HMT & Gildemeister Multi Spindle Collets
Technical Drawing: Dimension Keys
A: Shank Dia
B: Head Dia
C: Total Length
| GILDEMEISTER STANDARD | A | B | C | MAX | ||
|---|---|---|---|---|---|---|
| rnd | hex | sqr | ||||
| AS-32 | 53 | 69 | 128 | 32 | 27 | 22 |
| AS-48 | 70 | 90 | 149 | 48 | 41 | 34 |
| AS-67 | 90 | 115 | 170 | 67 | 58 | 47 |
The above mentioned collets are used in HMT, Gildemeister multi spindle machines.